Este circuito debe estar alimentado por una tensión de 5 V. La frecuencia depende de los componentes utilizados y del cristal. El circuito es válido para inversores CMOS con cambios en los valores de los componentes.

Oscilador TTL
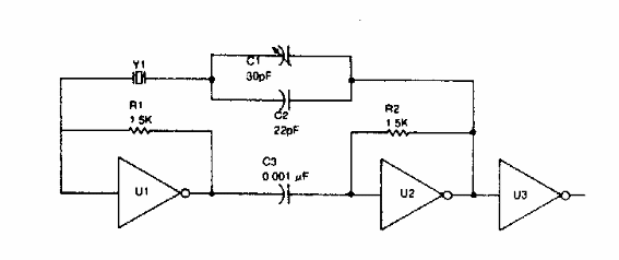
Este circuito debe estar alimentado por una tensión de 5 V. La frecuencia depende de los componentes utilizados y del cristal. El circuito es válido para inversores CMOS con cambios en los valores de los componentes.
