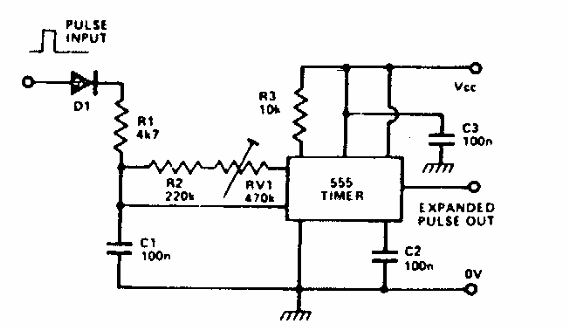
Este circuito de la década de 1970 produce pulsos de control desde un sistema de control remoto. El circuito necesita una etapa de potencia.

Control de velocidad para modelismo
Este circuito de la década de 1970 produce pulsos de control desde un sistema de control remoto. El circuito necesita una etapa de potencia.
