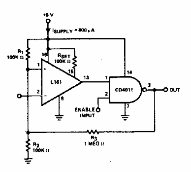
Este receptor para señales de hasta 300 kHz se puede utilizar en circuitos de interfaz digital. El amplificador operacional admite equivalentes modernos.

Receptor de línea CMOS
Este receptor para señales de hasta 300 kHz se puede utilizar en circuitos de interfaz digital. El amplificador operacional admite equivalentes modernos.
