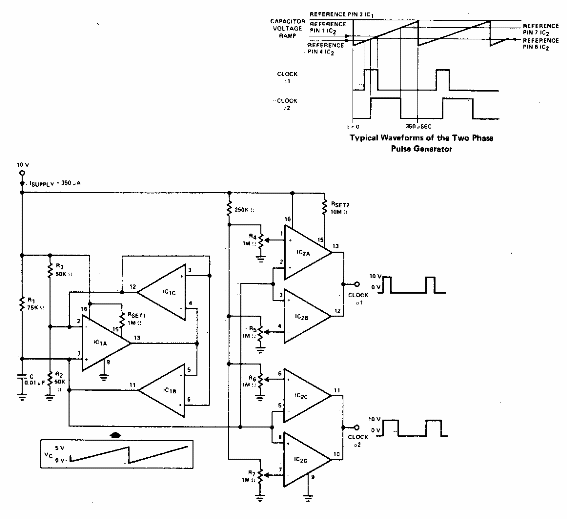
Encontramos este circuito en una publicación estadounidense de la década de 1980. Los circuitos integrados son de esa época, y los equivalentes modernos se pueden probar con posibles cambios en los otros componentes.

Generador de impulsos bifásico
Encontramos este circuito en una publicación estadounidense de la década de 1980. Los circuitos integrados son de esa época, y los equivalentes modernos se pueden probar con posibles cambios en los otros componentes.
