Este circuito se encontró en documentación antigua y se pueden utilizar otros operacionales. La fuente de alimentación debe ser simétrica. La señal de salida es rectangular.

Oscilador com operacional
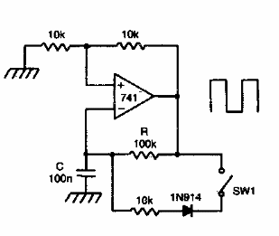
Este circuito se encontró en documentación antigua y se pueden utilizar otros operacionales. La fuente de alimentación debe ser simétrica. La señal de salida es rectangular.
