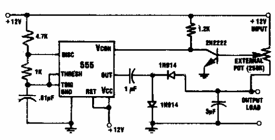
Los voltímetros de RF se pueden probar con este circuito que genera una señal de prueba. Lo encontramos en documentación antigua. Los componentes se pueden cambiar.

Prueba de RF para VTVM
Los voltímetros de RF se pueden probar con este circuito que genera una señal de prueba. Lo encontramos en documentación antigua. Los componentes se pueden cambiar.
