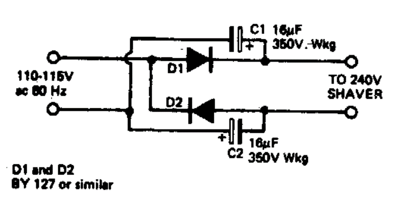
Este circuito permite utilizar afeitadoras de 220/240 V en la red de 110 V. Los diodos pueden ser rectificadores de propósito general como el 1N4007. La corriente de salida máxima es del orden de 1A.

 

Adaptador para afeitadora
Adaptador para afeitadora | Haga click en la imagen para ampliar |