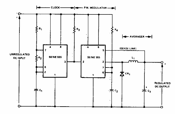
Encontrado en una documentación de los años 70, este circuito utiliza circuitos integrados de la época, sin más información sobre sus condiciones de funcionamiento.

Regulador reductor conmutado
Encontrado en una documentación de los años 70, este circuito utiliza circuitos integrados de la época, sin más información sobre sus condiciones de funcionamiento.
