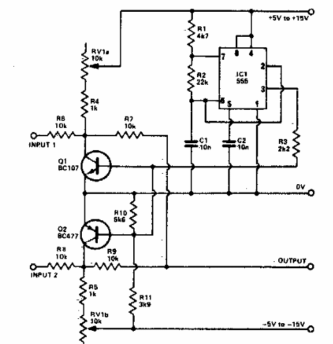
Este circuito separador de haces de osciloscopio fue encontrado en una documentación de los años 90. Sirve para señales de baja frecuencia utilizando el conocido 555.

Doble trazo
Este circuito separador de haces de osciloscopio fue encontrado en una documentación de los años 90. Sirve para señales de baja frecuencia utilizando el conocido 555.
