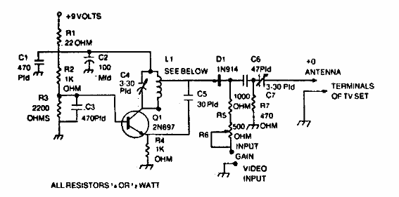
Este circuito se encontró en documentación de los años 70. El transistor es compatible con equivalentes modernos. L1 con C4 determina el rango de frecuencia de las señales que se producirán.

Modulador de RF
Este circuito se encontró en documentación de los años 70. El transistor es compatible con equivalentes modernos. L1 con C4 determina el rango de frecuencia de las señales que se producirán.
