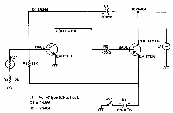
Encontrado en una documentación de la década de 1980, este circuito puede tener varias adaptaciones para usar transistores y LED modernos en lugar de la lámpara. La alimentación también se puede cambiar.

Flash de seguridad automático
Encontrado en una documentación de la década de 1980, este circuito puede tener varias adaptaciones para usar transistores y LED modernos en lugar de la lámpara. La alimentación también se puede cambiar.
