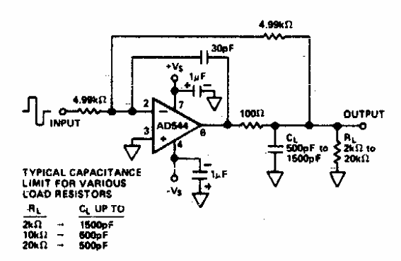
Este circuito está diseñado para excitar cargas capacitivas. Lo encontramos en una documentación antigua. Cargas de hasta 500 pF pueden ser excitadas. El circuito integrado es de la época.

Driver para cargas capacitivas
Este circuito está diseñado para excitar cargas capacitivas. Lo encontramos en una documentación antigua. Cargas de hasta 500 pF pueden ser excitadas. El circuito integrado es de la época.
