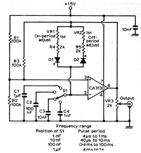
Este antiguo circuito utiliza uno operacional de los años 70, pero sigue siendo útil en los proyectos actuales. El circuito consiste en un oscilador que genera señales rectangulares en una amplia gama de frecuencias de audio, como se indica en la tabla al lado del diagrama. Se pueden utilizar operacionales equivalentes más modernos.

Oscilador rectangular



