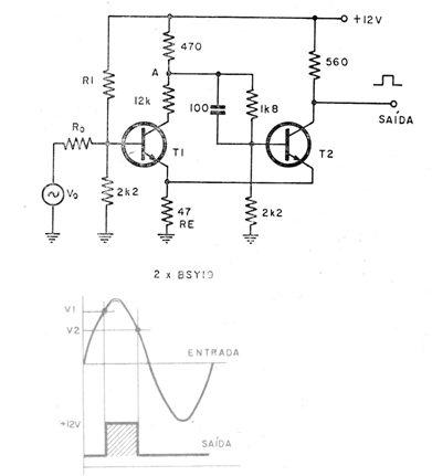
Este circuito de disparo con transistores, que puede ser el 2N2222, se encontró en una publicación de 1967. El circuito aún es actual y sirve para obtener pulsos rectangulares a partir de señales de entrada sinusoidales. La resistencia de entrada depende de la intensidad de la señal aplicada al circuito.

Schmitt trigger transistorizado



