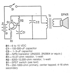
Este circuito produce un efecto de sonido que puede variar desde el sonido de un pájaro hasta una sirena. El circuito se encontró en una Electronics Experimenter de la década de 1980, pero puede ensamblarse con componentes modernos. El transformador es el tipo que se encuentra en las radios de transistores antiguos.

Generador de efectos



