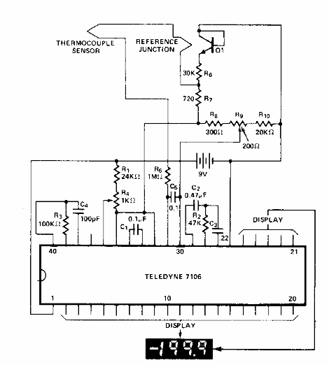
Este circuito de 3 dígitos y medio se encontró en una documentación de Teledyne de los años 90. El circuito utiliza un termopar como sensor. El circuito integrado utilizado es poco común hoy en día.

Termómetro digital
Este circuito de 3 dígitos y medio se encontró en una documentación de Teledyne de los años 90. El circuito utiliza un termopar como sensor. El circuito integrado utilizado es poco común hoy en día.
