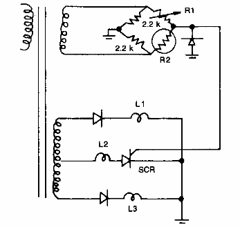
Este circuito de relé se encontró en una documentación estadounidense de los años 90. Los devanados del transformador están de acuerdo con la tensión de disparo de los relés. El sensor es un NTC de 2.2 k.

Sensor de temperatura
Este circuito de relé se encontró en una documentación estadounidense de los años 90. Los devanados del transformador están de acuerdo con la tensión de disparo de los relés. El sensor es un NTC de 2.2 k.
