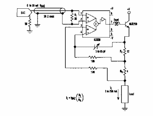
Este circuito agrega un transistor amplificador que puede alimentar cargas de hasta 250 mA. El circuito es de una Electronic Design de los años 90.

Convertidor de corriente a tensión
Este circuito agrega un transistor amplificador que puede alimentar cargas de hasta 250 mA. El circuito es de una Electronic Design de los años 90.
