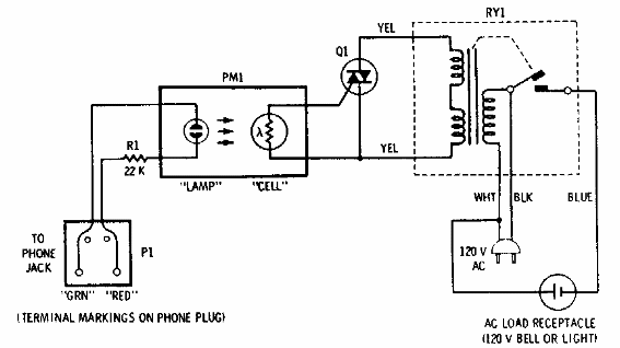
Este circuito puede activar una lámpara potente o un sistema de llamadas cuando se produce una llamada telefónica. Adecuado para personas con discapacidad auditiva o lugares ruidosos, se encontró en la documentación estadounidense en los años 90.

Aviso de llamada



