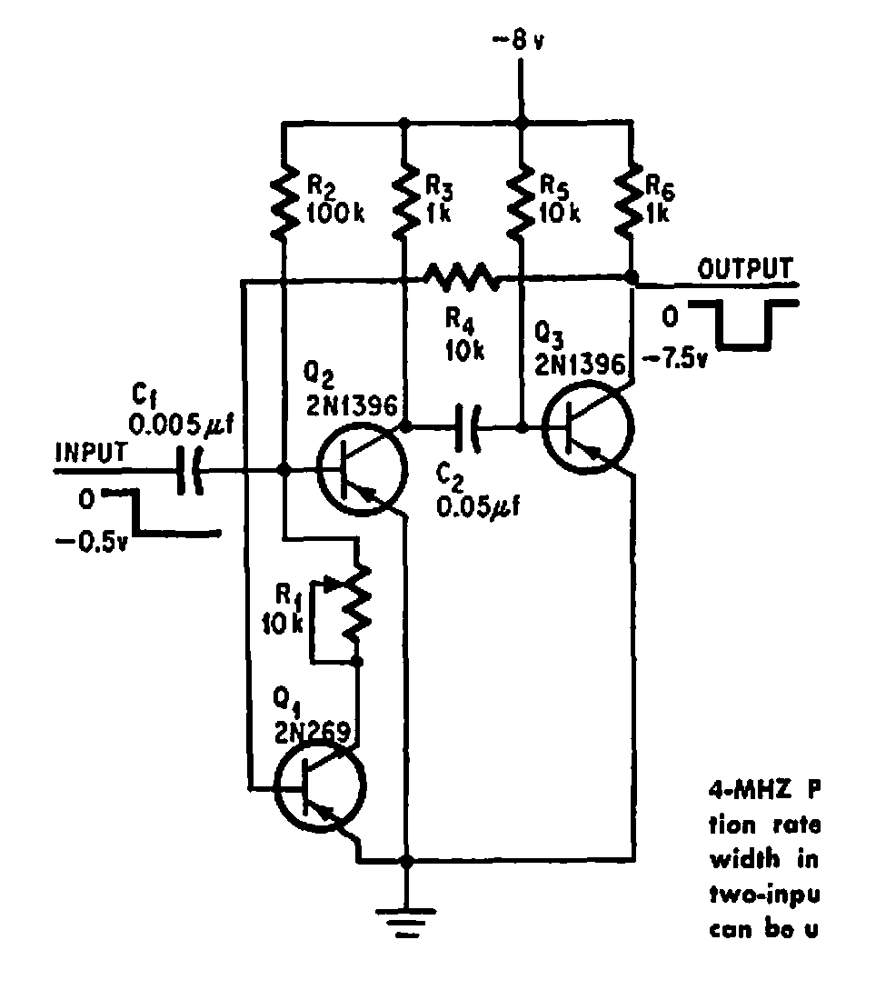
Este circuito se encontró en una documentación estadounidense de 1969. Sirve para activar circuitos al proporcionar una señal de 7,5 V en la salida de impulsos de 500 mV.
Al conectar este circuito en paralelo con el altavoz de un sistema de sonido, el LED parpadeará al ritmo...
El anemómetro es un instrumento usado en la medida de la velocidad del viento. El anemómetro que...
Este circuito puede ser utilizado en decoración, para dar efectos especiales en juguetes e incluso...