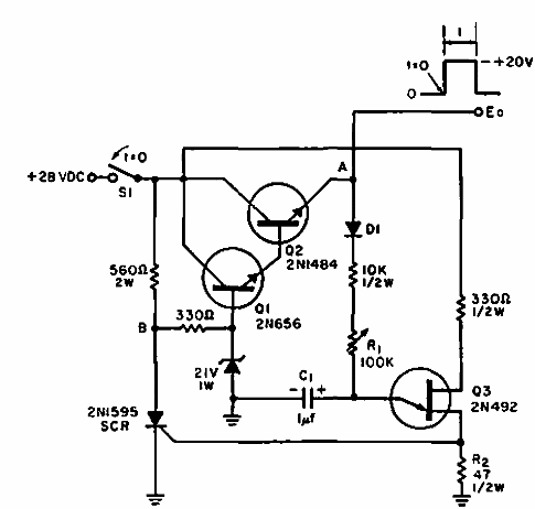
Encontrado en una Electronic Design de 1964, este circuito genera pulsos de 1 A con duraciones de 100 us a 10 ms. El circuito hace uso de transistores de la época.

Generador de pulso ajustable
Encontrado en una Electronic Design de 1964, este circuito genera pulsos de 1 A con duraciones de 100 us a 10 ms. El circuito hace uso de transistores de la época.
