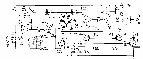
Este circuito se encontró en una Elektor de los años 90. Es un circuito que genera diferentes tipos de efectos de sonido. Los componentes utilizados siguen siendo comunes hoy en día.

Circuito de efectos de sonido
Este circuito se encontró en una Elektor de los años 90. Es un circuito que genera diferentes tipos de efectos de sonido. Los componentes utilizados siguen siendo comunes hoy en día.
