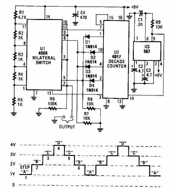
Este circuito se encontró en una Popular Electronics de los años 90. El circuito utiliza componentes comunes en la actualidad. La forma de onda de la señal generada se muestra al lado del diagrama.

Generador de señal de escalera
Este circuito se encontró en una Popular Electronics de los años 90. El circuito utiliza componentes comunes en la actualidad. La forma de onda de la señal generada se muestra al lado del diagrama.
