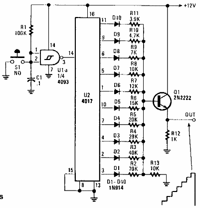
Encontrado en una vieja Radio Electronics, este circuito usa componentes comunes hoy en día. Las resistencias de la salida del IC determinan los escalones.

Generador de escalera
Encontrado en una vieja Radio Electronics, este circuito usa componentes comunes hoy en día. Las resistencias de la salida del IC determinan los escalones.
