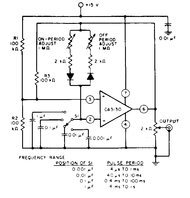
Encontrado en la documentación de General Electric de la década de 1980, este circuito genera señales que dependen de los valores de los componentes dados en la tabla al lado del diagrama.
El circuito mostrado en la figura 4 deja pasar sólo una banda estrecha de frecuencias alrededor de 1...
En la figura tenemos un circuito biestable que acciona LEDs de toques de aleación y desconecta datos...
El circuito mostrado en la figura 1 es sugerido por Texas Instruments y se basa en su amplificador...