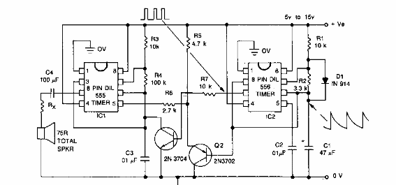
Este es más uno de los circuitos de alerta roja de Star Trek que puedes encontrar en este sitio. Tomamos esta versión de una publicación en inglés de los años 80.

Alerta roja
Este es más uno de los circuitos de alerta roja de Star Trek que puedes encontrar en este sitio. Tomamos esta versión de una publicación en inglés de los años 80.
