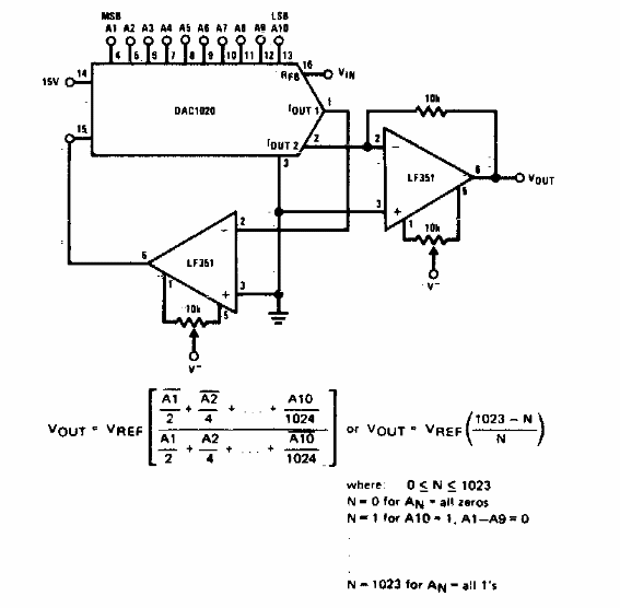
Encontramos este circuito en una documentación estadounidense de los años 70. Los circuitos integrados son de esa época. El circuito puede aplicarse a componentes equivalentes modernos.

Amplificador y atenuador controlados digitalmente
Encontramos este circuito en una documentación estadounidense de los años 70. Los circuitos integrados son de esa época. El circuito puede aplicarse a componentes equivalentes modernos.
