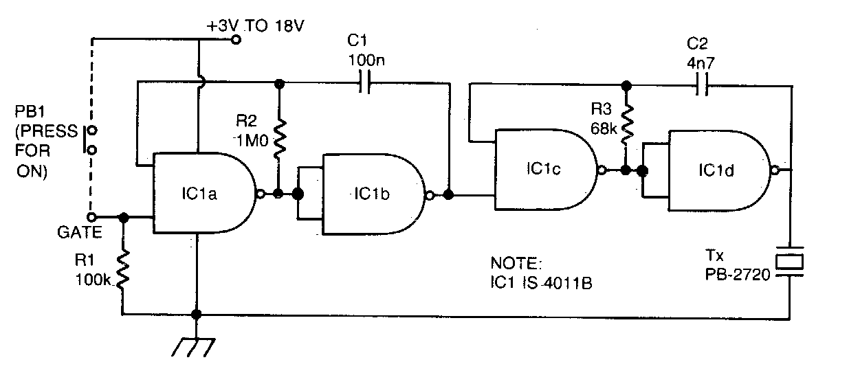
Este circuito se encontró en documentación estadounidense de la década de 1980. El transductor es una cápsula piezoeléctrica y la alimentación puede estar entre 3 y 18 V.
Para esto se necesitará el siguiente material: 1 Capacitor electrolítico de 470 µF o 1000 µF de...
Cuando un pulso de luz incide en el LDR, este circuito dispara un temporizador monoestable 555 que acciona...
Cargar pequeñas pilas y baterías de Nicad (Niquel-Cadmio) de los tipos AAA, AA, C, D y baterías de 9 V es...