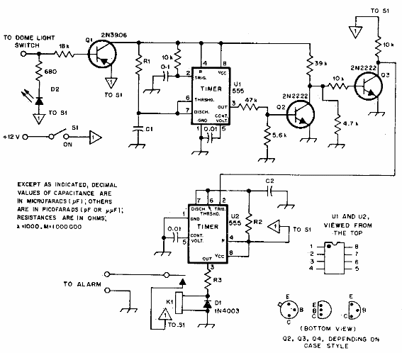
Este es uno de los muchos circuitos de alarma para automóviles que tenemos en nuestro sitio web con base en el 555. Lo encontramos en una documentación estadounidense de los años 80. El circuito tiene doble temporización.

Alarma automotriz 555
Este es uno de los muchos circuitos de alarma para automóviles que tenemos en nuestro sitio web con base en el 555. Lo encontramos en una documentación estadounidense de los años 80. El circuito tiene doble temporización.
