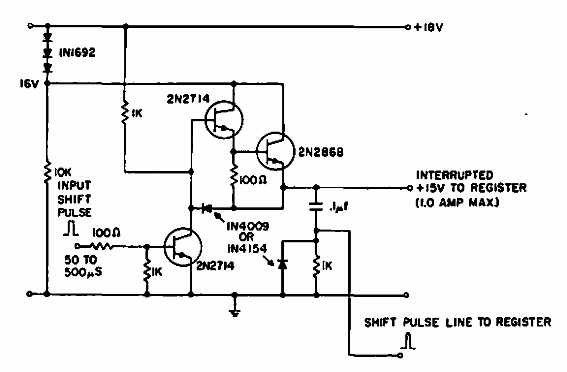
Este circuito se obtuvo en una documentación de General Electric de 1960. Se aplica en el control de registros de la época.

Driver Darlington
Este circuito se obtuvo en una documentación de General Electric de 1960. Se aplica en el control de registros de la época.
