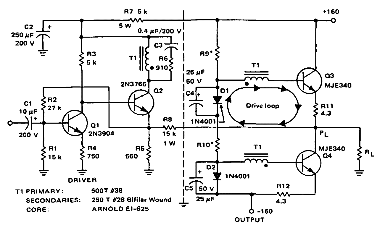
Con una salida de 7,5 W a 110 V, este circuito se encontró en una documentación de Motorola de 1968. El circuito tiene un rango operativo de 95 a 2 000 Hz.
Cuando se habla de oscilador de relajación, pronto se piensa en los transistores unijuntura que, a pesar de...
Un viejo transformador de salida sacado de alguna radio transistorizada antigua que ya no funciona es...
Este simple oscilador emite una señal que produce, en televisores analógicos (rango de VHF y UHF),...