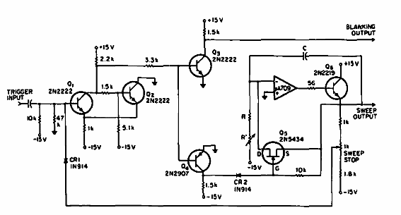
Encontrado en la documentación 969, este circuito genera señales de exploración de 1 Hz a 100 kHz. Los componentes utilizados son del período, y se pueden usar equivalentes.

Generador de exploración lineal
Encontrado en la documentación 969, este circuito genera señales de exploración de 1 Hz a 100 kHz. Los componentes utilizados son del período, y se pueden usar equivalentes.
