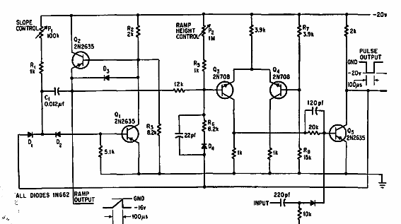
Encontrado en un manual de 1967, este circuito utiliza transistores de ese momento para generar una señal de rampa lineal.

Generador de rampa
Encontrado en un manual de 1967, este circuito utiliza transistores de ese momento para generar una señal de rampa lineal.
