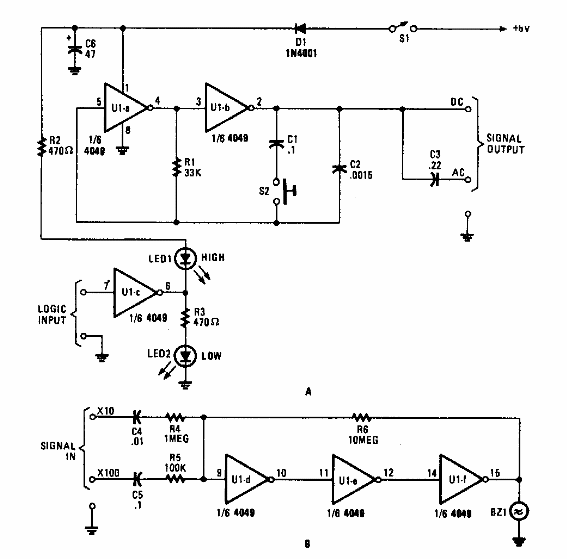
Encontrado en una Popular Electronics de los años 90, sirve tanto la lógica TTL como la CMOS. El inyector puede proporcionar señales de 10 kHz o 100 Hz. El circuito acciona un transductor y dos LED.

Prueba lógica
Encontrado en una Popular Electronics de los años 90, sirve tanto la lógica TTL como la CMOS. El inyector puede proporcionar señales de 10 kHz o 100 Hz. El circuito acciona un transductor y dos LED.
