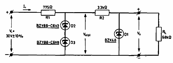
Encontrado en la documentación de Philips de 1968, este circuito sirve como referencia de 6.3 V para una alta estabilidad.

Circuito de preestabilización
Encontrado en la documentación de Philips de 1968, este circuito sirve como referencia de 6.3 V para una alta estabilidad.
