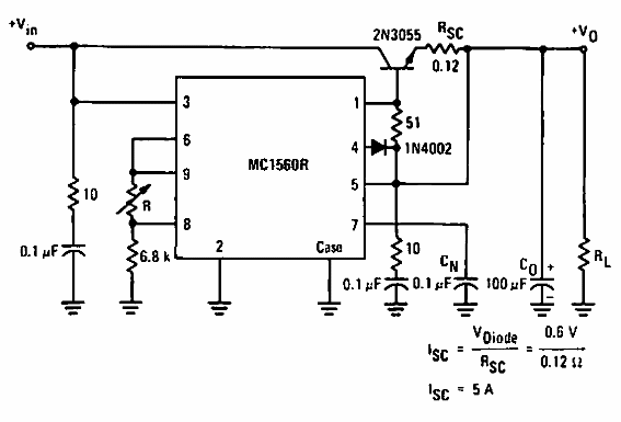
Este circuito regulador es de una documentación de Motorola de 1969. Hace uso de un regulador integrado de la época. Se puede obtener una corriente de hasta 5 A con el transistor indicado.

Booster de corriente
Este circuito regulador es de una documentación de Motorola de 1969. Hace uso de un regulador integrado de la época. Se puede obtener una corriente de hasta 5 A con el transistor indicado.
