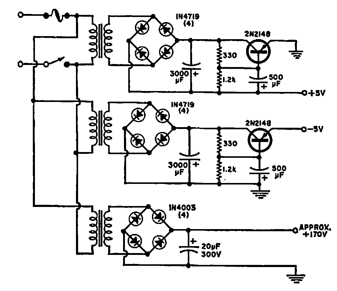
Esta fuente de alimentación de 1969 Electronics World tiene 5 V para alimentar circuitos digitales y una salida de 170 V para las válvulas indicadoras Numitron utilizadas en la época.

 

Fuente de alimentación triple de 5 V para Numitron
Fuente de alimentación triple de 5 V para Numitron | Haga click en la imagen para ampliar |