Este circuito se encontró en una documentación de Motorola de 1968. La corriente de carga es de 10 A. Los componentes utilizados son de la época y no se proporciona información sobre el transformador.

Regulador 120 VAC
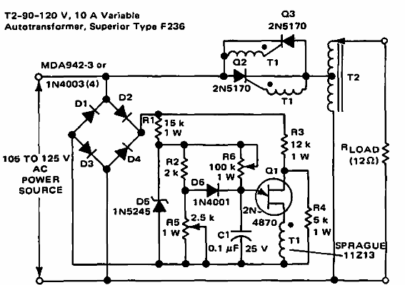
Este circuito se encontró en una documentación de Motorola de 1968. La corriente de carga es de 10 A. Los componentes utilizados son de la época y no se proporciona información sobre el transformador.
