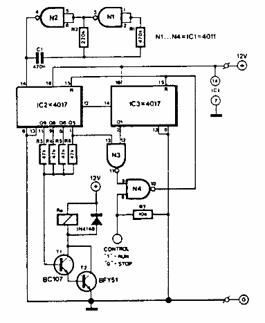
Basado en el circuito integrado 4017, este circuito de una 303 Circuits de los años 90 genera un tren de pulsos en un relé que imita la marcación de un teléfono.

Simulador de timbre telefónico
Basado en el circuito integrado 4017, este circuito de una 303 Circuits de los años 90 genera un tren de pulsos en un relé que imita la marcación de un teléfono.
