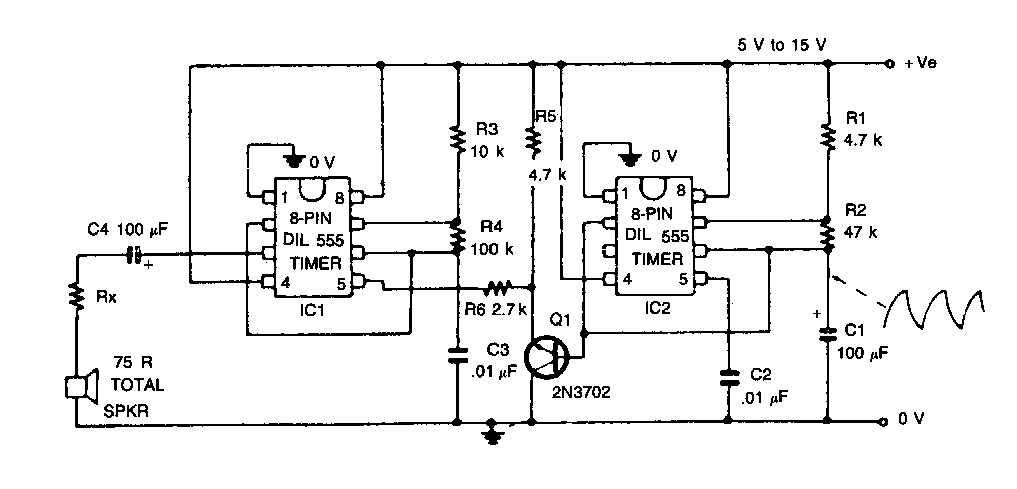
Este circuito simula una sirena estadounidense y se puede encontrar en otra parte de este sitio web y sección. El circuito es de documentación de los años 90. Preferiblemente, la señal debe aplicarse a un amplificador.

 

Alarma con dos 555
Alarma con dos 555 | Haga click en la imagen para ampliar |