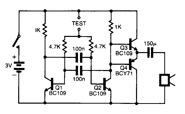
Esta prueba de continuidad se encontró en una Electronics Engineering de los años 90. Los transistores son tipos de propósito general del tiempo con equivalentes como BC548 y BC558.

 

Prueba de continuidad simple
Prueba de continuidad simple | Haga click en la imagen para ampliar |