)
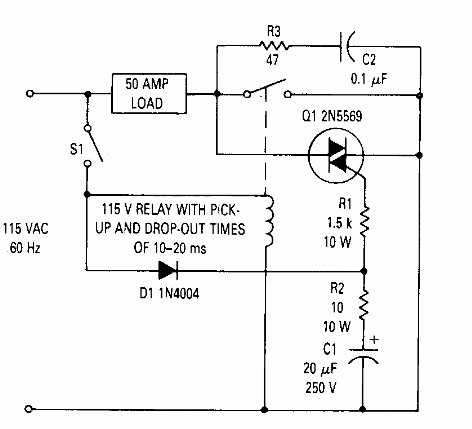
Encontrado en una documentación de Motorola de la década de 1990, este circuito tiene como objetivo proteger a un triac que impulsa una carga inductiva utilizando un snubber de conmutación de relé.

Protección de contacto en circuito con relé
)
Encontrado en una documentación de Motorola de la década de 1990, este circuito tiene como objetivo proteger a un triac que impulsa una carga inductiva utilizando un snubber de conmutación de relé.
