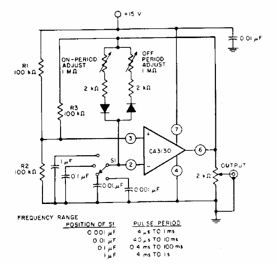
Encontrado en una documentación RCA de la década de 1970, este circuito genera señales de acuerdo con los valores de los componentes. Se da una tabla al lado del diagrama.

Astable CA3130
Encontrado en una documentación RCA de la década de 1970, este circuito genera señales de acuerdo con los valores de los componentes. Se da una tabla al lado del diagrama.
