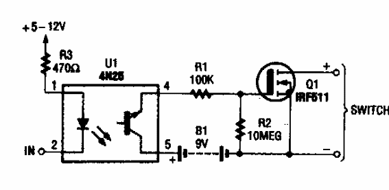
Este circuito se encontró en una Popular Electronics de los años 90. Tanto el acoplador como el MOSFET pueden ser de cualquier tipo.

Relé de estado sólido
Este circuito se encontró en una Popular Electronics de los años 90. Tanto el acoplador como el MOSFET pueden ser de cualquier tipo.
