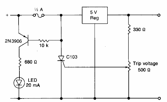
Encontrado en la documentación de los años 90, este circuito activa el SCR cuando hay una sobretensión para que el fusible se queme rápidamente. El SCR puede ser un TIC106.

Crowbar para fuentes
Encontrado en la documentación de los años 90, este circuito activa el SCR cuando hay una sobretensión para que el fusible se queme rápidamente. El SCR puede ser un TIC106.
