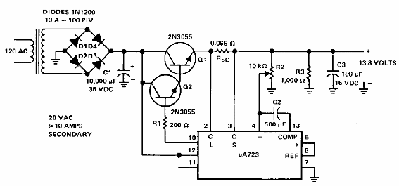
Texas Instruments sugirió esta fuente de alimentación de 13,6 V con salida de 8 A en documentación de los años 90. Los transistores de potencia deben estar equipados con buenos disipadores de calor.

Fuente de 8 A
Texas Instruments sugirió esta fuente de alimentación de 13,6 V con salida de 8 A en documentación de los años 90. Los transistores de potencia deben estar equipados con buenos disipadores de calor.
