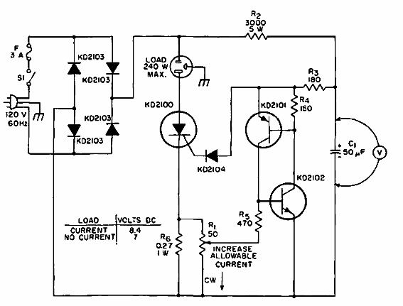
Este circuito se encontró en una publicación RCA de 1967. El circuito usa componentes de esa época y puede usarse con cargas de hasta 240 W.

Protector de sobrecarga
Este circuito se encontró en una publicación RCA de 1967. El circuito usa componentes de esa época y puede usarse con cargas de hasta 240 W.
