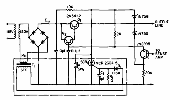
Este circuito muestrea la corriente en una carga y, en caso de un valor excesivo, activa un sistema de protección. El circuito es de un EEE de 1966. Los transistores son de esa época y admiten equivalentes de corriente, al igual que el SCR.

Muestreador de sobrecarga



