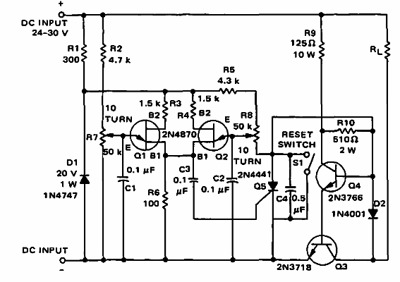
Encontrado en un manual de Motorola de 1968, este circuito de CC utiliza componentes de la época. El circuito se dispara en microsegundos. El transistor Q3 debe estar de acuerdo con la carga controlada.

Fusible electrónico
Encontrado en un manual de Motorola de 1968, este circuito de CC utiliza componentes de la época. El circuito se dispara en microsegundos. El transistor Q3 debe estar de acuerdo con la carga controlada.
