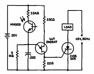
Este sensor de alta sensibilidad se encontró en un manual de SCR de General Electric de 1967. El circuito admite equivalentes al activar una carga de acuerdo con el SCR utilizado.

Sensor de luz
Este sensor de alta sensibilidad se encontró en un manual de SCR de General Electric de 1967. El circuito admite equivalentes al activar una carga de acuerdo con el SCR utilizado.
